暖芯迦九感 EPC001 芯片集成了两个模拟前端,为用户提供更加便捷、高效的心电监测体验
发布时间:2024-06-24
动态心电记录仪,也称为Holter,是一种能随身携带的小型心电图机,能够连续不断地监测人体24小时心脏跳动情况。

动态心电记录仪作为一种便携式的医疗检测设备,在日常的心脏健康监测和疾病诊断中发挥着重要作用。然而,市面上的动态心电记录仪仍存在一些明显的缺点:
无在线处理能力:市面上许多设备无法实时或快速地将心电数据上传到云端或医生的工作站。
运行时间有限:许多动态心电记录仪的监测时长有限,通常只能进行24小时或较短时间的心电监测。
处理能力有限:市面上的动态心电记录仪在数据处理能力方面普遍有限。由于设备本身的性能和算法限制,它们往往只能进行基础的心电信号分析和处理。
暖芯迦九感 EPC001 芯片可以将这些缺点改进和优化,为用户提供更加便捷、高效和舒适的心电监测体验。
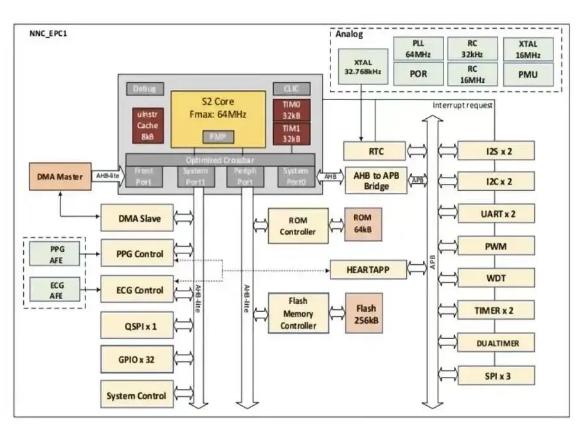
暖芯迦九感 EPC001 是一颗电生理SOC芯片,该芯片集成了脑电/心电/肌电/光电两个模拟前端和强大的RISC-V单片机。可检测多达二十余项参数,包括无袖套血压、血氧、心率、呼吸等。广泛适用于各类可穿戴智能设备、智能家居,医疗设备等应用领域。

通过蓝牙或无线网络连接,实现在线数据处理
EPC001 芯片的应用使得动态心电记录仪在数据处理和分享方面有了很大的便利。传统的心电监测设备往往需要将数据通过有线连接传输到医疗设备中进行分析。而运用了九感EPC001芯片的动态心电记录仪可以通过蓝牙或无线网络连接,将实时的心电数据传输到智能手机或云端,实现在线数据处理。

自带算法单元/低功耗模式,可输出20多项健康参数
EPC001 芯片最大的一个特点就是采集到生物分子信号之后,会通过内部一个硬件的算法单元—— Heart APP,该 APP 会输出一个大于20项的人体健康参数。同时,EPC001 芯片内部有三种低功耗模式可选:休眠模式、停机模式、待机模式,得益于芯片自带的三种模式,可以让运用 EPC001 芯片的产品拥有更多的运行时间。

高度集成,拥有独立心电图采集能力
EPC001 芯片都是把放大器、ADC采集和一些存储空间等放到芯片内部里,外部仅仅只需要接电极片和LED等。另外,EPC001 芯片在保证集成度的同时,还能保证芯片的体积,EPC001 芯片仅有7mmx7mm。

暖芯迦九感 EPC001 多功能神经刺激芯片优点及特征:
● 高集成度:集成 RISC-V MCU,单通道 ECG 模拟前端,单通道 PPG 模拟前端,硬件滤波电路;
● 丰富接口:Uart、SPI、QSPI、I2C、I2S等通信接口;
● 高检测精度:超低噪声可编程放大器 PGA 和 24 位的 ADC,以高动态范围,高精度截取完整的信号,为测量结果的精确度提供保障;
● 三级联集成梳状滤波器;
● 高达 32kHz 带宽的独立采集系统。
产品参数
● 工作电压范围:2.5V - 5V
● 工作温度范围:-40℃ - 125℃
● 低功耗模式:休眠模式、停机模式、待机模式
● INA可编程增益范围: 1 -120
● 交流、直流导联脱落检测;支持右腿驱动(RLD)
● 支持可编程放大器的24 位ADC 模拟前端
相关产品
联系我们
暖芯迦电子科技有限公司
客服电话: 400-8605922
生物芯片:林经理 180-9470-6680(微信同号)
视觉脑机: 王经理 180-9470-6679(微信同号)
深圳分公司 : 周经理 0755 -26410854
杭州公司地址: 杭州市余杭区联创街188号贝达梦工场C座6层
深圳公司地址: 深圳市光明区凤凰街道欧菲光总部研发中心B座703
暖芯迦脑机(公众号)
暖芯迦电子(公众号)
暖芯迦脑机(视频号)